随机图片api搭建
本文最后更新于 2025-03-26,文章超过7天没更新,应该是已完结了~
图片来源
本地存储:
图片数量有限。
需要稳定、低延迟的访问。
部署在小型环境或内网服务中。
外链存储:
图片数量大且经常变化。
用户分布广泛,需要通过 CDN 提升性能。
不希望将存储和分发负担放在自己的服务器上。
我们这里选择用阿里云oss云存储图片
生成图片链接
创建Bucket
在阿里云控制台搜索关键词“oss”,创建Bucket列表,具体步骤如下图:


设置Bucket权限
进入具体的Bucket,在左侧“权限控制”列中设置关闭“阻止公共访问”,设置读写权限为“公共读”,这样图片才可以通过外网访问(不限时)


上传图片
这一步就不描述了,根据提示点击按钮上传图片
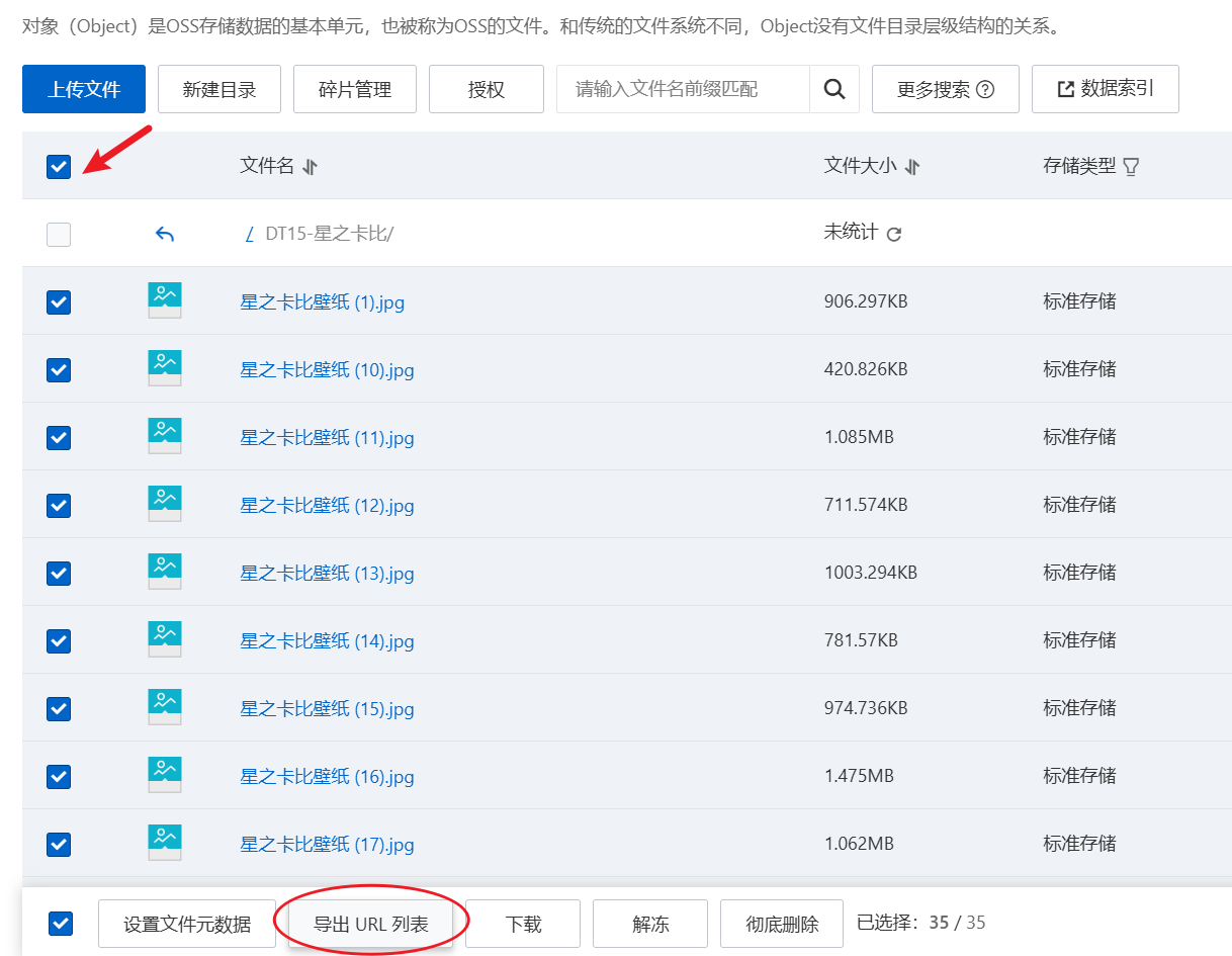
导出图片url

导出的csv文件中将图片链接复制粘贴到txt文件,命名随意,格式:图片链接之间换行分隔
接口代码(Springboot)
核心思路:读取同一目录下的txt文件,随机读取某一条链接并访问返回。
package com.example.randomimage;
import org.springframework.boot.SpringApplication;
import org.springframework.boot.autoconfigure.SpringBootApplication;
import org.springframework.web.bind.annotation.GetMapping;
import org.springframework.web.bind.annotation.PathVariable;
import org.springframework.web.bind.annotation.RestController;
import org.springframework.web.servlet.view.RedirectView;
import java.io.File;
import java.io.IOException;
import java.net.URISyntaxException;
import java.nio.file.Files;
import java.util.List;
import java.util.Random;
@SpringBootApplication
public class RandomImageApplication {
public static void main(String[] args) {
SpringApplication.run(RandomImageApplication.class, args);
}
}
@RestController
class RandomImageController {
private final Random random = new Random();
@GetMapping("/{type}")
public RedirectView getRandomImage(@PathVariable("type") String type) {
String fileName = type + ".txt";
String imageLink = getRandomImageLink(fileName);
return new RedirectView(imageLink);
}
/**
* 根据文件名读取文本文件内容,随机返回其中一行(图片链接)
* @param fileName 文件名称,必须和jar包在同一目录下
* @return 随机图片链接或错误提示
*/
private String getRandomImageLink(String fileName) {
try {
// 使用当前工作目录,而不是 jar 包的位置
File currentDir = new File(System.getProperty("user.dir"));
File file = new File(currentDir, fileName);
List<String> lines = Files.readAllLines(file.toPath());
if (lines.isEmpty()) {
return "文件 " + fileName + " 中没有图片链接。";
}
int index = random.nextInt(lines.size());
return lines.get(index).trim();
} catch (IOException e) {
e.printStackTrace();
return "读取文件 " + fileName + " 时发生错误:" + e.getMessage();
}
}
}注意:可以通过 URL 路径动态决定读取对应的文本文件内容。例如,访问 http://xxxx.xx:9001/xiantiaodog 时,服务器会读取 xiantiaodog.txt 文件的内容并返回。这样,当需要新增其他类型的图片时,只需将新的图片链接保存到对应名称的文本文件,并放置到应用程序的工作目录中。随后,通过修改路径为新增文件名即可实现扩展,无需额外的代码改动或复杂配置。
pom文件以及打包
<?xml version="1.0" encoding="UTF-8"?>
<project xmlns="http://maven.apache.org/POM/4.0.0"
xmlns:xsi="http://www.w3.org/2001/XMLSchema-instance"
xsi:schemaLocation="http://maven.apache.org/POM/4.0.0 http://maven.apache.org/xsd/maven-4.0.0.xsd">
<modelVersion>4.0.0</modelVersion>
<groupId>com.wzc.cloud</groupId>
<artifactId>randomImg</artifactId>
<version>1.0-SNAPSHOT</version>
<name>randomImg</name>
<description>Spring Boot Random Image Application</description>
<parent>
<groupId>org.springframework.boot</groupId>
<artifactId>spring-boot-starter-parent</artifactId>
<version>2.7.5</version>
<relativePath/>
</parent>
<properties>
<maven.compiler.source>11</maven.compiler.source>
<maven.compiler.target>11</maven.compiler.target>
<project.build.sourceEncoding>UTF-8</project.build.sourceEncoding>
</properties>
<dependencies>
<!-- Spring Boot Web Starter -->
<dependency>
<groupId>org.springframework.boot</groupId>
<artifactId>spring-boot-starter-web</artifactId>
</dependency>
</dependencies>
<build>
<plugins>
<plugin>
<groupId>org.apache.maven.plugins</groupId>
<artifactId>maven-compiler-plugin</artifactId>
<version>3.8.1</version>
<configuration>
<source>11</source>
<target>11</target>
</configuration>
</plugin>
<!-- Spring Boot Maven Plugin -->
<plugin>
<groupId>org.springframework.boot</groupId>
<artifactId>spring-boot-maven-plugin</artifactId>
</plugin>
</plugins>
</build>
</project>打包后将jar包放到服务器上,具体步骤如下:


因为这是个springboot工程,内置了tomcat服务器,所以直接运行java -jar randomImg.jar 就可以访问了。
其他
应用配置安全证书
如果您的网站域名已经配置了安全证书,那么访问 http://xxxx.xx:9001/xiantiaodog 时,通常会自动跳转到 https://xxxx.xx:9001/xiantiaodog,即通过 HTTPS 协议进行访问。然而,Spring Boot 默认使用 HTTP 协议,而非 HTTPS。为确保安全性,可以为 Spring Boot 应用配置 HTTPS 并使用安全证书,以支持加密访问。
下载ssl安全证书
服务器类型选择tomcat

spingboot项目中配置
阿里云提供的是 .pfx 文件(即包含证书和私钥的 PKCS#12 文件),配置会更简单,无需额外转换。可以直接使用 Spring Boot 的 application.yml 或 application.properties 来配置 HTTPS。
将证书文件放到项目中
将 yourdomin.pfx 文件放到 src/main/resources 目录下。
修改 application.yml:
server:
port: 9001
ssl:
enabled: true
key-store: classpath: yourdomin.pfx
key-store-password: xxxxxx # 复制 pfx-password.txt 文件中的内容
key-store-type: PKCS12然后重新打包放到服务器上运行即可。
应用发布到docker上运行
首先目录内容如下:

进入你的 JAR 包目录:
创建 Dockerfile: 在 /usr/soft/randomImg 目录下新建一个文件 Dockerfile:
nano Dockerfile然后将以下内容粘贴进去并保存:
# 使用 OpenJDK 11 基础镜像 要和项目用的jdk版本一致
FROM openjdk:11-jdk-slim
# 设置工作目录
WORKDIR /app
# 复制 JAR 文件到容器中
COPY randomImg.jar /app/randomImg.jar
# 暴露应用运行的端口
EXPOSE 9001
# 启动 JAR 应用
ENTRYPOINT ["java", "-jar", "/app/randomImg.jar"]
构建 Docker 镜像
在 /usr/soft/randomImg 目录下运行以下命令构建镜像:
docker build -t random-img-app .复制编辑挂载宿主机目录到容器
在 docker run 命令中,你可以通过 -v 或 --mount 选项来挂载宿主机的目录到容器内。
这样在docker运行的应用才能/usr/soft/randomImg 下找到xxx.txt文件(重要)
docker run -d -p 9001:9001 -v /path/to/host/directory:/app --name random-img random-img-app最终结果:

- 感谢你赐予我前进的力量

